升威动态
Granville dynamic
广东升威电子制品有限公司
电 话:0769-38833333
传 真:0769-87930111
0769-87930222
E-mail:sw@soundwell-cn.com
地 址:广东省东莞市塘厦镇凤凰岗升威工业园
电位器怎么接线?
文章出处:www.soundwell-cn.com
编辑:升威电子
发表时间:2017-03-02
电位器是电路中常用的一个电子元器件,有些刚接触的朋友对电位器的接线不是很了解.
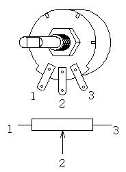
电位器有三个引出端,是由电阻体和可移动电刷组成,当电刷沿电阻体移动,在输出端即获得与位移量成一定关系的电阻值或电压.
电位器接线,一般1号接电源正极,2号接信号输出,3号接电源负极.123标志电位器上都有,没有就用万用表量一下,一般13是总阻, 部分电位器上标有电路图,中心头,接电位器的中间腿,其他两端可任意接,如果调整时方向相反,可将两端的线对调。

逆时针转到头时12相连,顺时针转到头时23相连。
具体在电路中的接法因使用位置和用作的不同而不尽相同。
像上面一图中,可将12短接,3接100K,也可以将23短接,1接100K。
在控制电压时,以顺时针旋转2端的电压升高为常用的接法。
控制问题是时,以顺时针旋转音量增大为一般接法。
广东升威电子专业生产电位器26年,电位器种类多,型号全,找电位器生产厂家就找升威电子!





















.jpg)
.jpg)
.jpg)



